
| NO | STOK KODU | AÇIKLAMA | ADET |
|---|---|---|---|
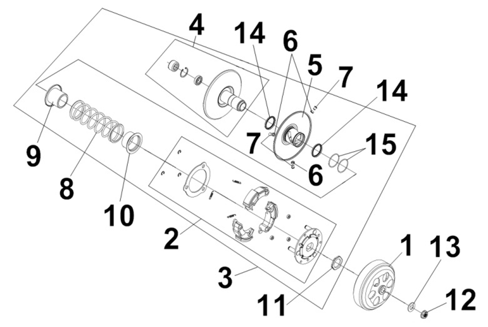
| 1 | 22101-L1N-000 | VARYATOR DIS TAMBUR ROTOR DEBRIYAJ DIS GOVDE | 1 |
| 2 | 22300-D27-000 | VARYATOR DEBRIYAJ BALATASI_(YAY+BALATA+BRAKET+SAC)_A_SET | 1 |
| 3 | 23010-D51-000 | VARYATOR KOMPLE DEB TASI HARIC | 1 |
| 4 | 23200-D27-000 | VARYATOR ARKA SABIT YANAK ARKA | 1 |
| 5 | 23220-D51-000 | VARYATOR OYNAR YANAK ARKA | 1 |
| 6 | 23225-HKE-000 | PIMI VARYATOR OYNAR YANAK PIMI | 3 |
| 7 | 23226-M9Q-000 | BURCU VARYATOR OYNAR YANAK PIMI BURCU ARKA | 3 |
| 8 | 23233-D51-000 | YAYI VARYATOR YAYI OYNAR YANAK YAYI ARKA | 1 |
| 9 | 23237-L1N-000 | BURCU VARYATOR YAYI BILEZIGI IC | 1 |
| 10 | 23238-L1N-001 | BURCU YAYI VARYATOR BILEZIGI DIS_(23238-L1N-000) | 1 |
| 11 | 90202-M9Q-000 | SOMUN 28MM VARYATOR SOMUNU_(90202-M7Q-000) | 1 |
| 12 | 90203-M9Q-000 | SOMUN 12MM VARYATOR SOMUNU_(94050-12000) | 1 |
| 13 | 90440-M9Q-000 | ORINGPUL 12MM PULU_(94101-12000) | 1 |
| 14 | 91211-M8Q-000 | KECE VARYATOR OYNAR YANAK VARYATOR KECESI_(91211-V02-000)_ARKA | 2 |
| 15 | 91384-M9Q-000 | ORINGPUL 38 8*1 9 O-RING PUL_(91384-SF1-J61-M1) | 2 |
391,45 TL
4.045,78 TL
303,81 TL
1.535,84 TL
1.864,17 TL
9,08 TL
25,43 TL
1.304,24 TL
80,38 TL