Alışveriş Sepetim
×
10.000₺ VE ÜZERİ SİPARİŞLERİNİZDE ÜCRETSİZ KARGO!!!
Arama
Türkçe
Giriş Yap
Hesap Oluştur
Sepet Boş
Ana Sayfa
Kategoriler
APRILLIA YEDEK PARÇA
ATLANTIC 250
ATLANTIC 500
CAPONORD 1200
CAPONORD RALLY 1200
CAPONORD TRAVEL PACK 1200
DORSODURO 1200
DORSODURO 900
ETV 1000 CAPONORD
ETV CAPONORD 1000
ETV CAPONORD ABS 1000
LEONARDO 150
MANA 850
PEGASO 650
PEGASO 650 TRAIL
PEGASO TRAIL 650
RS 125
RS4 125
RSV4 FACTORY
RSV4 FACTORY 1000
RSV4 FACTORY 1100
RSV4 RF 1000
RSV4 RR 1000
RXV 450
SCARABEO 500
SCARABEO IE 200
SHIVER 900
SL SHIVER 750
SRV 850
TUONO 1000
TUONO 660
TUONO R (4 LÜ KALİPER) 1000
TUONO V4 FACTORY 1100
TUONO V4 R / APRC 1000
TUONO V4 RR 1100
BAJAJ YEDEK PARÇA
DISCOVERY 150
DOMINAR 400
N250
PULSAR 150 NS
PULSAR NS 200
PULSAR RS 200
BAKIM SETLERİ
HONDA
YAMAHA
BENELLI YEDEK PARÇA
TNT 25 250
TORNADO 125
TRK 502 ABS
TRK 502 X ABS
BETA YEDEK PARÇA
RR 2T ENDURO / RACING 250
RR 2T ENDURO / RACING 300
XTRAINER 250
XTRAİNER 250
BMW YEDEK PARÇA
1200 R NINE T
1200 R NINE T SCRAMBLER
1200 R NINE T URBAN G/S
C 600 SPORT
C 650 GT / SPORT
F 650
F 650 GS / DAKAR
F 700 GS
F 750 GS
F 800 GS
F 800 GT
F 800 R
F 800 S
F 800 ST
F 850 GS / ADV
F 900 R
F 900 XR
F650
F700
F750
F800
F800 GS
G 310 GS
G 310 GS 310
G 310 R
G 310 R 310
G 450 X
G 450 X 450
G 650 GS
G 650 X CHALLENGE
G310GS
G310R
HP4 1000
K 1200 GT
K 1200 GT ABS
K 1200 LT
K 1200 LT ABS
K 1200 R
K 1200 RS
K 1200 S
K 1300 GT
K 1300 S
K 1600 B
K 1600 GT
K 1600 GTL / EXCLUSIVE
R 1100 GS
R 1100 RT
R 1150 GS / ADV
R 1150 R
R 1150 RT
R 1200
R 1200 C
R 1200 CL
R 1200 GS / ADV / RALLY
R 1200 R
R 1200 RS
R 1200 RT
R 1200 ST
R 1250 GS / ADV
R 1250 R
R 1250 RS
R 1250 RT
R 65 GS
R NINE T 1200
R NINE T PURE 1200
R NINE T SCRAMBLER 1200
R NINE T URBAN G/S 1200
R1200 GS
R1250 GS
S 1000 R
S 1000 RR
S 1000 XR
CF MOTO YEDEK PARÇA
150 NK
450 SR
CF 500
NK 150
NK 250
NK 400
SR 250
SR 450
DAELIM YEDEK PARÇA
S2 250
S3 250
DERBI YEDEK PARÇA
GP1 250
DUCATİ YEDEK PARÇA
1200 MULTISTRADA ENDURO / PRO
1200 MULTISTRADA PIKES PEAK
1260 MULTISTRADA ENDURO
1260 MULTISTRADA PIKES PEAK
1260 MULTISTRADA S
1299
DIAVEL 1200
DIAVEL 1260
DIAVEL S 1260
EVO 848
HYPERMOTARD / EVO / SP 1100
HYPERMOTARD / SP 821
HYPERMOTARD 796
HYPERMOTARD 939
HYPERMOTARD 950
HYPERMOTARD EVO 1100
HYPERMOTARD EVO SP 1100
HYPERMOTARD SP 939
HYPERSTRADA 821
MONSTER / DARK 821
MONSTER 1200
MONSTER 620
MONSTER 695
MONSTER 696
MONSTER 796
MONSTER 797
MONSTER 937
MONSTER ABS 1100
MONSTER R / S 1200
MULTISTRADA / S 950
MULTISTRADA 1200
MULTISTRADA 1260
MULTISTRADA ENDURO / PRO 1200
MULTISTRADA ENDURO 1260
MULTISTRADA PIKES PEAK 1200
MULTISTRADA PIKES PEAK 1260
MULTISTRADA S 1200
MULTISTRADA S 1260
MULTISTRADA V4 1160
PANIGALE / SP 1198
PANIGALE 899
PANIGALE 959
PANIGALE V4 / S 1100
PANIGALE V4 R 998
PANIGALE1299
SCRAMBLER / ICON / DARK 800
SCRAMBLER / SIXTY 2 400
SCRAMBLER / SPORT 1100
SCRAMBLER 400 / SIXTY 2
SCRAMBLER 800 / ICON / DARK
ST4 S 996
STREETFIGHTER 848
STREETFIGHTER V4 / S 1100
SUPERSPORT / S 937
X DIAVEL 1200
X DIAVEL 1260
EKİPMAN GRUBU
ÇANTA
DİZLİK
ELDİVEN
GİYİM
KASK VE KASK AKSESUAR
GAS GAS YEDEK PARÇA
EC / F RACING 250
EC / F RACING 300
EC 250
EC 250 / F RACING
EC 250 2T
EC 250 4T
EC 2T 250
EC 2T 300
EC 300
EC 300 / F RACING
EC 300 2T
EC 4T 250
MC 250
MC 300
XC 300
GILERA YEDEK PARÇA
FUOCO 500
GP 800
NEXUS 500
RUNNER FXR 2T (HENGTONG) 180
GP KOMPOZİT AKSESUAR
HONDA
SYM
YAMAHA
HARLEY DAVİDSON
HARLEY YEDEK PARÇA
CUSTOM 1200
DYNA CONVERTIBLE (FXDS)
DYNA CONVERTIBLE (FXDS) 1450
DYNA LOW RIDER (FXDL)
DYNA LOW RIDER (FXDL) 1450
DYNA LOW RIDER (FXDL) 1584
DYNA STREET BOB (FXDB)
DYNA STREET BOB (FXDB) 1450
DYNA STREET BOB (FXDB) 1584
DYNA SUPER GLIDE (FXD) 1450
DYNA SUPER GLIDE (FXD) 1584
DYNA SUPER GLIDE (FXDI) 1450
DYNA SUPER GLIDE CUSTOM (FXDC) 1450
DYNA SUPER GLIDE CUSTOM (FXDC) 1584
DYNA SUPER GLIDE T-SPORT (FXDX)
DYNA SUPER GLIDE T-SPORT (FXDX) 145
DYNA SUPER GLIDE T-SPORT (FXDXT)
DYNA SUPER GLIDE T-SPORT (FXDXT) 14
DYNA WIDE GLIDE (FXDWG)
DYNA WIDE GLIDE (FXDWG) 1450
DYNA WIDE GLIDE (FXDWG) 1584
ELECTRA GLIDE CLASSIC (FLHTC) 1450
ELECTRA GLIDE CLASSIC (FLHTC) 1584
ELECTRA GLIDE STANDARD (FLHT/I) 145
ELECTRA GLIDE STANDARD (FLHT/I) 158
ELECTRA GLIDE ULTRA CLASSIC (FLHTCU
ELECTRA GLIDE ULTRA CLASSIC ABS 169
FAT BOY (FLSTC)
FAT BOY (FLSTF) 1450
FAT BOY (FLSTF) 1584
FAT BOY (FLSTF)1450
FAT BOY (FLSTF/I) 1450
HERITAGE SOFTAIL (FLSTI) 1450
HERITAGE SOFTAIL CLASSIC (FLSTC) 15
HERITAGE SOFTAIL CLASSIC 1340 (FLST
HERITAGE SOFTAIL CLASSIC 1450
HERITAGE SPRINGER (FLSTS) 1450
NIGHT ROD 1250 SPECIAL VRSCDX
NIGHT ROD SPECIAL VRSCDX 1250
NIGHT TRAIN (FXSTB/I) 1450
NIGHT TRAIN (FXSTB/I) 1584
ROAD GLIDE (FLTR/I) 1450
ROAD GLIDE CUSTOM (FLTRX) 1690
ROAD GLIDE SPECIAL ABS (FLTRXS) 175
ROAD GLIDE SPECIAL ABS 1690
ROAD GLIDE ULTRA ABS (FLTRU) 1750
ROAD GLIDE ULTRA ABS 1690
ROAD KING (FLHR/I) 1450
ROAD KING (FLHR/I) 1584
ROAD KING ABS (FLHR) 1750
ROAD KING ABS 1690
ROAD KING CLASSIC (FLHRC) 1584
ROAD KING CLASSIC (FLHRCI) 1450
ROAD KING CLASSIC ABS (FLXRC) 1750
ROAD KING CLASSIC ABS 1690
ROAD KING CUSTOM (FLHRS/I) 1450
SOFTAIL (FLSTC/I) 1450
SOFTAIL (FLSTSC/I) 1584
SOFTAIL CLASSIC (FXSTC) 1584
SOFTAIL CUSTOM 1340 (FXSTC)
SOFTAIL DELUXE (FLSTN) 1450
SOFTAIL DELUXE (FLSTN) 1584
SOFTAIL DEUCE (FXSTD/I) 1450
SOFTAIL DEUCE (FXSTD/I) 1584
SOFTAIL STANDARD (FXST) 1450
SOFTAIL STANDARD (FXST) 1584
SPRINGER SOFTAIL (FXSTS)
SPRINGER SOFTAIL (FXSTS/I) 1450
SPRINGER SOFTAIL CLASSIC (FLSTSC/I)
STREET 750
STREET GLIDE (FLHX) 1584
STREET GLIDE (FLHX) 1690
STREET GLIDE SPECIAL ABS (FLHXS) 17
STREET GLIDE SPECIAL ABS 1690
STREET ROD 750
SUPER GLIDE (FXDI) 1450
SUPER GLIDE (FXR)
SUPERLOW 1200 T
ULTRA LIMITED ABS (FLHTK) 1750
ULTRA LIMITED ABS 1690
ULTRA LIMITED LOW ABS (FLHTKL) 1750
ULTRA LIMITED LOW ABS 1690
V-ROD 1130 VRSCA
V-ROD MUSCLE VRSCF 1250
V-ROD VRSCA 1130
V-ROD VRSCAW
V-ROD VRSCAW 1250
V-ROD VRSCB 1130
XL 1200 C SPORTSTER CUSTOM
XL 1200 L SPORTSTER LOW
XL 1200 R SPORTSTER ROADSTER
XL 1200 S SPORT
XL 1200 SPORTSTER - FORTY EIGHT
XL 1200 SPORTSTER CUSTOM
XL 1200 SPORTSTER N NIGHTSTER
XL 1200 V - SEVENTY TWO
XL 1200 X - FORTY EIGHT
XL 883 L SPORTSTER LOW
XL 883 L SPORTSTER LOW ABS
XL 883 L SUPERLOW
XL 883 N IRON
XL 883 R ROADSTER
XL 883 R SPORTSTER
XL 883 R SPORTSTER R
XL 883 SPORTSTER CUSTOM
XLH 1200 SPORTSTER
XLH 883 SPORTSTER
XR 1200 / X
HONDA YEDEK PARÇA
750 CC TRANSALP XL 2023>
ACTİVA 100
ACTİVA 125
ACTİVA 125 İ DELUXE
ACTİVA S
AFRİCA 1100
CB 1000 R
CB 1100
CB 125 E
CB 125 F
CB 125 F 125
CB 125 R
CB 1300
CB 250
CB 250 R
CB 250R
CB 400 F
CB 500
CB 500F
CB 600 F
CB 600F HORNET
CB 650F
CB 650R
CB 900F HORNET
CBF 1000
CBF 150
CBF 250
CBF 500
CBF 600
CBR 1000 RR
CBR 1000RR
CBR 1000RR SP
CBR 1000RRR SP 1000
CBR 1100 XX
CBR 1100XX
CBR 125 R
CBR 250 R
CBR 500 RR
CBR 500R
CBR 600 F
CBR 600 RR
CBR 600F
CBR 600RR
CBR 650 F
CBR 650R
CBR 900RR
CBR 929RR
CBR 954RR
CBR F SPORT
CBR F SPORT 600
CRF 1000 L AFRICA TWIN / DCT
CRF 1000 L AFRICA TWIN ADV / DCT
CRF 1000L AFRİCATWİN
CRF 1100 L AFRICA TWIN / ADV / DCT
CRF 1100 L AFRICA TWIN / DCT L1
CRF 250 L
CRF 250 R
CRF 250 RALLY
CRF 250 RL
CRF 250 X
CRF 450 X
CRF L AFRICA TWIN / ADV / DCT L2
CRF L AFRICA TWIN / ADV / DCT L2 11
CRF L AFRICA TWIN / ADV / DCT L4
CRF L AFRICA TWIN / ADV / DCT L4 11
CRF L AFRICA TWIN / DCT
CRF L AFRICA TWIN / DCT 1000
CRF L AFRICA TWIN / DCT L1
CRF L AFRICA TWIN / DCT L1 1100
CRF L AFRICA TWIN ADV / DCT
CRF L AFRICA TWIN ADV / DCT 1000
CROSSRUNNER
CROSSRUNNER 800
CROSSTOURER / DCT 1200
CROSSTOURER 1200
CTX ABS 1300
DIO 50
DİO 110
DN-01
DN-01 700
FİZY 125
FORESIGHT 250
FORZA 125
FORZA 250
FORZA 300
FORZA ABS
FORZA ABS 750
GOLD WING F6C
GOLD WING GL / F6B
GOLD WING GL DCT 1800
GOLDWİNG GL 1800
HORNET 160
HORNET 600
INNOVA 125
INTEGRA
INTEGRA 700
INTEGRA 750
KİNETİC NH 100
MSX 125
NC 700
NC 750
NC S
NC S 700
NC S 750
NC S DCT 750
NC X
NC X 700
NC X 750
NC X DCT 750
NC700 S
NC700 X
NC750 S
NC750 S DCT
NC750 X
NC750 X DCT
NT
NT 1100
NT DEAUVILLE V 700
NT700 DEAUVILLE V
NT700 Deauville
NX DOMINATOR 650
NX4 FALCON 400
NX650 DOMINATOR
PAN EUROPEAN ST 1100
PCX 125
PCX 125 2018-2020
PCX 125 2023
PCX 150
PS 150
PS 150 İ
SH 125 İ
SH İ 300
SILVER WING 400
SILVER WING 600 ABS
SILVER WING ABS 600
SİLWERLİNG 400
SPA
SPACY 110
SPACY ALPHA
ST 1300 PAN EUROPEAN ABS
SW-T ABS 600
TENERE
TODAY 50
TRANSALP 600
TRANSALP 700
VARADER
VARADERO
VFR 1200
VFR 1200 F
VFR 1200 F DCT
VFR 800
VFR 800 V-TEC
VFR V-TEC 800
VRF 1200 CROSSTOURER
VT 750 SHADOW
VT C SHADOW 600
VT C SHADOW 750
VTX 1300
VULCAN S 650
WAVE 110
X-ADV 750
XL 700
XL V TRANSALP 600
XL V TRANSALP 650
XL V TRANSALP ABS 700
XLV 1000 VARADERO
XLV 1000 VARADERO ABS
XLV 600 TRANSALP
XLV TRANSALP 650
XLV TRANSALP 700 ABS
XLV VARADERO ABS 1000
XR 650 R
XRV 750 AFRICA TWIN
XRV AFRICA TWIN 750
HUSQVARNA
FE 250
TE 250
TE 300
HUSQVARNA YEDEK PARÇA
ENDURO 701
FC / FE 450
FC 250
FC 350
FE 250
FE 350
FE 501
SMR 630
SUPERMOTO ABS 701
SVARPILEN 401
TC 250
TC 450
TE 250
TE 300
TE 350
TE 450
TE 610
TE 630
HYSOUNG YEDEK PARÇA
GT 250 R
GV 250
IPONE ÜRÜNLERİ
KAWASAKİ YEDEK PARÇA
EN 500
EN 500 VULCAN
ER5
ER-6F / ER-6N
ER-6F / ER-6N ABS
ER6N
KLE 500
KLR 250
KLR 650
KLX 250
KLX 250 S
KX 250 F
NINJA 250 R
NINJA 300
NINJA EX650 KRT
NINJA H2 SX / SE
NİNJA 250 R
VERSYS 650
VERSYS 650 ABS
VN 1500
VN 1500 CLASSIC
VN 1600
VN 1700 CLASSIC / TOURER
VN 800
VN 900
VN 900 CLASSIC / CUSTOM
VULCAN 650 S
Z 1000
Z 1000 SX
Z 750
Z 750 / S
Z 800
Z 900
Z1000
ZX 10
ZX 6
ZX 9
ZX-6R NINJA
ZX-9R NINJA
ZZR 1400
KENDİNİZ İÇİN
İNTERKOM ÇEŞİTLERİ
KASK
KTM YEDEK PARÇA
1050 ADVENTURE
1090 ADVENTURE / R
1190 ADVENTURE / R
1290 SUPER ADVENTURE / R / S / T
250 EXC / SIX DAYS
250 EXC F
350 EXC F
450 EXC
450 EXC F
640 LC4 ENDURO / ADVENTURE
790 ADVENTURE / R
890 ADVENTURE / R 890
950 ADVENTURE
990 ADVENTURE
990 ADVENTURE R
990 ADVENTURE S
ADVENTURE / R 1090
ADVENTURE / R 1190
ADVENTURE / R 790
ADVENTURE 1050
ADVENTURE 390
ADVENTURE 950
ADVENTURE 990
ADVENTURE R 990
ADVENTURE S 990
DUKE / R 690
DUKE / RC 250
DUKE 125
DUKE 200
DUKE 250
DUKE 390
DUKE 790
ENDURO R 690
EXC / SIX DAYS 250
EXC 125
EXC 250
EXC 250 SIX DAYS
EXC 250F
EXC 300
EXC 450
EXC F 250
EXC F 350
EXC F 450
KTM 125
LC4 ENDURO / ADVENTURE 640
RC 125
RC 200
RC 390
RC8 / R 1190
SMC / R / ABS 690
SUPER ADVENTURE / R / S / T 1290
SUPER DUKE / R 990
SUPER DUKE R / GT 1290
SX 85
SX-F 450
KYMCO YEDEK PARÇA
ACTIV 125
ACTİV 110
ACTİV 150
AGİLİTY 125
AGİLİTY 50
AGİLİTY CİTY 125
AGİLİTY R16
AK 550
CK 125
DİNK 125 İ
DİNK 200 İ
DİNK 200İ
DOWNTON 200İ
DOWNTOWN 300İ
DOWNTOWN İ 300
DOWNTOWN İ ABS 300
DOWNTOWN İ ABS 350
GRAND DINK 300
GRAND DİNK 150
GRAND DİNK 250
LIKE 125
LİKE 125
LİKE 200
MAXXER 300
MOVIE XL 125
MOVİE XL 150
MXU 150
MXU 300
MXU 50
MXU 500
PEOPLE 125
PEOPLE GTI 125
PEOPLE GTI 200
PEOPLE S 125
PEOPLE S 200
PEOPLE S200
PULSAR CK 125
STRAİGHT 150
SUPER 8 125
SUPER 8 50
VENOX 250
XCITING / R 500
XCITING 250
XCITING 400
XCITING 500
XCITING R 300
XCITING Rİ 300
XCİTİNG 250
XCİTİNG 300
XCİTİNG 300 AFİ
XCİTİNG 400
XTOWN 125
X-TOWN ABS 125
X-TOWN ABS 250
X-TOWN CT 250
LAMBRETTA YEDEK PARÇA
DIŞ AKSAM
MONDİAL YEDEK PARÇA
DRİFT L
MOTOSİKLETİNİZ İÇİN
750 X-ADV
A
AKÜLER
ALARM
AMORTİSÖR
AMORTİSÖR KEÇESİ
AMORTİSÖR YAĞI
AYDINLATMA
AYNA
AYNA GRUBU
BUJİ
BUJİ BAŞLIĞI
CB 125 R
CB 250R
CB 600F HORNET
CB 650F
CB 650R
CB500F
CBF 1000
CBF 500
CBF 600
CBR 125 R
CBR 500R
CBR 600F
CBR 600RR
CBR 650 F
CBR 650F
CONTA KEÇE
CUSTOM 1200
DEBRİYAJ BALATASI
DİŞLİ
DN-01
DN-01 700
DYNA CONVERTIBLE (FXDS)
DYNA LOW RIDER (FXDL)
DYNA SUPER GLIDE T-SPORT (FXDX)
DYNA SUPER GLIDE T-SPORT (FXDXT)
EGSOZ ÇEŞİTLERİ
ELCİK GİDON GRUBU
ELCİK ISITMA
F 650
F 650 GS / DAKAR
F 750 GS
FAN
FAT BOY (FLSTC)
FREN BALATASI
FREN DİSK
GİDON MANET GRUBU
GP KOMPOZİT AKSESUAR
GSX-R 600
HAVA FİLTRESİ
HERITAGE SOFTAIL CLASSIC 1340 (FLST
INTEGRA 700
INTEGRA 750
INTRUDER 1400 VS GL
İÇ LASTİK
KEÇE ÇESİTLERİ
KİLİT KORUMA ÜRÜNLERİ
LASTİK
MOTOR YAĞI
NC X 750
NC700 S
NC700 X
NC750 S
NC750 S DCT
NC750 X
NC750 X DCT
NINJA EX650 KRT
NT700 DEAUVILLE V
NX650 DOMINATOR
OFF ROAD
PİSTON SEKMAN GRUBU
R 65 GS
RULMAN BİLYA
SCRAMBLER 400 / SIXTY 2
SİPERLİK
SOFTAIL CUSTOM 1340 (FXSTC)
SPRINGER SOFTAIL (FXSTS)
SUPER GLIDE (FXR)
SUPERLOW 1200 T
TELEFON TUTUCU
VARYATÖR-KAYIŞ-DEBRİYAJ
VERSYS 650
VERSYS 650 ABS
VN 1500 CLASSIC
VN 800
VN 900 CLASSIC / CUSTOM
XL 1200 C SPORTSTER CUSTOM
XL 1200 L SPORTSTER LOW
XL 1200 R SPORTSTER ROADSTER
XL 1200 S SPORT
XL 1200 SPORTSTER - FORTY EIGHT
XL 1200 SPORTSTER CUSTOM
XL 1200 SPORTSTER N NIGHTSTER
XL 1200 V - SEVENTY TWO
XL 1200 X - FORTY EIGHT
XL 883 L SPORTSTER LOW
XL 883 L SPORTSTER LOW ABS
XL 883 L SUPERLOW
XL 883 N IRON
XL 883 R ROADSTER
XL 883 R SPORTSTER
XL 883 SPORTSTER CUSTOM
XLH 1200 SPORTSTER
XLV 600 TRANSALP
XLV TRANSALP 650
XLV TRANSALP 700 ABS
YAĞ FİLTRESİ
YAĞ VE BAKIM ÜRÜNLERİ
YAKIT FİLTRESİ
Z 1000
Z 1000 SX
ZİNCİR
ZİNCİR DİŞLİ GRUBU
ZİNCİR DİŞLİ SETİ
ZİNCİR YAĞLARI
ZX-6R NINJA
MOTUL
SCARABEO 250
MOTUL MOTOSİKLET BAKIM ÜRÜNLERİ
CİLA PARLATMA
FREN BALATA TEMİZLEYİCİ
FREN HİDROLİĞİ
HAVA FİLTRE YAĞI
KASK TEMİZLEME
MOTOR TEMİZLEME SPREYİ
MOTOSİKLET YAĞI
ZİNCİR TEMİZLEME
ZİNCİR YAĞI
ZİNCİR YAĞLARI
MV YEDEK PARÇA
BRUTALE / RR / ABS 800
BRUTALE / RR 675
BRUTALE DRAGSTER / ABS 800
F3 / RC / ABS 800
F3 675
F3 RC ABS / SERIE ORO 675
RIVALE / ABS 800
RUSH 1000
STRADALE ABS 800
TURISMO VELOCE / RC / LUSSO / ABS 8
OFF-ROAD EKİPMAN
MX-ENDURO ÇANTA
OFF-ROAD YEDEK PARÇA
GİDON ELCİK GRUBU
SLAYDER ÖN ARKA
VİTES FREN PEDALI
ZİNCİR DİŞLİ
PEUGEOT
400 SATELIS
SATELIS 250 (AJP KALİPER)
SATELIS 250 (NİSSİN KALİPER)
PEUGEOT YEDEK PARÇA
DJANGO 125
DJANGO 150
DJANGO 50
GEOPOLIS 500
METROPOLİS 400
SATELIS 400
SATELIS 500
SPEEDFIGHT3 125
SPEEDFIGHT3 50
TWEET 125
XP 400
PIAGGIO &VESPA
PIAGGIO YEDEK PARÇA
BEVERLY 300
BEVERLY 500
BEVERLY CRUISER 500
LIBERTY 200
MP3 250
MP3 EFI 500
MP3 IE LT 300
MP3 LT 300
MP3 LT IBRIDO 300
MP3 LT SPORT ABS 300
MP3 LT TOURING 300
MP3 LT TOURING BUSINESS / SPORT 500
MP3 MIC 300
MP3 TOURING 300
MP3 YOURBAN IE 300
X8 200
X9 250
X9 500
X9 EVOLUTION 500
ZIP 100
SARF MALZEME - EKİPMAN-
ALET -APARAT-ÇEKTİRME
SHERCO YEDEK PARÇA
enduro 250-300
SUZUKİ YEDEK PARÇA
ADDRESS 110
AN 125
AN 400 BURGMAN
AN 650 BURGMAN
BURGMAN 200
BURGMAN 250
BURGMAN 400
BURGMAN 650
DL 1000 V-STROM / XT
DL 250 VSTROM
DL 650
DRZ 400 S
EN 500 VULCAN
GSF 600 BANDIT / S
GSF BANDIT / S
GSR 750
GSX 600 F
GSX F 600
GSX R 1100
GSX-R 1000
GSXR 125
GSX-R 600
HAYABUSA
HAYABUSA 1300
INTRUDER 1500 C
INTRUDER 800 C / M
İNAZUMA
M 800 INTRUDER
MARAUDER 800
MARUDER 800
MT-25
RM 125
SV 650
VAN VAN 125
VAN VAN 200
VL 1500 Intruder
VL 8
VL 800
VSTROM
SYM YEDEK PARÇA
ADX 125
ALLO-125
ATV 200
ATV 300
ATV 600
CROX 125
CRUİSYM 250
DRG 160
FİDDLE 2 125 S
FİDDLE 3 125
FİDDLE 3 200 İ
FİDDLE 4 125
FİDDLE ESKİ KASA (2008-09)
GTS / JOYMAX 250
GTS 250
GTS 250 İ EVO
GTS 250 İE EVO
GTS250 / JOYMAX 250
HD 200 (KARBURATÖRLÜ)
HD 200 İE EVO
HD 200 İE EVO
HD 200 KARBÜRATÖRLÜ
HD2 EFİ 200
HD2 İ 200
JET 14 125
JET 14 125 İE EURO 4
JET 14 200
JET 14 200 ABS İE
JET 14 200 EURO 5 2023
Jet 4 125
JET 4 125
JET X 125
JOYMAX / SPORT ABS 250
JOYMAX 250
JOYMAX 250 ABS EURO 4
JOYMAX 250 Z PLUS
JOYMAX Z 250
JOYRİDE 200 İE EVO
JOYRİDE 200 KARBÜRATÖRLÜ
JOYRİDE 200 S ABS EURO 4
JOYRİDE 300
MAX SYM 400
MAX SYM 600
MAX SYM TL 508
MİO 100
MİO 50 4T EFİ
MMBCU 160
NH
NH X 125
NHT 200
NHX 125
ORBİT 125 ESKİ KASA
ORBİT 2 125
ORBİT 2 125 EFİ
ORBİT 50
ORBİT 50 4T EFİ
ORBİT 50 4T EURO 4
SYMPHONY 125
SYMPHONY 125 ESKİ KASA
SYMPHONY 200
SYMPHONY 200 E5
SYMPHONY 200 ST
SYMPHONY S / SR 125
SYMPHONY SR 125
SYMPHONY ST 125 İE
VS 125
VS 150
WOLF 125
WOLF 250
X PRO 125 EFİ
X-PRO 125
X-PRO 125 2024 E5
XS 125
TRIUMPH YEDEK PARÇA
AMERICA 865
BOBBER 1200
BONNEVILLE T100 865
BONNEVILLE T100 900
BONNEVILLE T120
BONNEVILLE T120 1200
DAYTONA 675
DAYTONA R 675
ROCKET 3 2300
ROCKET 3 GT / R 2500
SCRAMBLER XC / XE 1200
SPEED TRIPLE / R / S / RS 1050
SPEED TWIN 1200
SPEEDMASTER 865
STREET SCRAMBLER 900
STREET TRIPLE / R / S 675
STREET TRIPLE R 765
STREET TRIPLE RS 765
STREET TRIPLE S 765
STREET TWIN 900
THRUXTON 865
THRUXTON R 1200
THUNDERBIRD 1700
TIGER 660 SPORT
TIGER 800
TIGER 900 / GT / RALLY / PRO
TIGER 900 / GT / RALLY / PRO 900
TIGER EXPLORER / XC / XC X / XC R 1
TIGER SPORT 1050
TIGER SPORT 850
TIGER XC / A / X 800
TIGER XC 800
TIGER XR / X / T 800
TRIDENT 660
TROPHY SE 1215
Triumph YEDEK PARÇA
SPEED TRIPLE / R / S / RS
SPEED TRIPLE 1050 / R / S / RS
STREET SCRAMBLER 900
STREET TWIN 900
TIGER EXPLORER 1200 / XC / XC X / X
TIGER SPORT 1050
TROPHY 1215 SE
TRiumph YEDEK PARÇA
TVS YEDEK PARÇA
APACHE RTR 200
JUPITER 125
NTORQ 125
RAİDE
RAİDER 125
RTR 200
VESPA YEDEK PARÇA
ET4 150
GTS 300
LX 150
LXV 125
PX 150
S 150
VESPA LX 125
VESPA PX 125
VESPA S 125
YAMAHA YEDEK PARÇA
125 WR R / X
BWS 100
BWS 125
CBR 125 R
CYGNUS X
CYGNUS X 125
DELIGHT 115
DELIGHT 125
DELİGHT 125
DRAGSTAR
DRAGSTAR 1100
DRAGSTAR 650
FJR 1300
FREN BALATASI
FZ1 / FAZER
FZ1 / FAZER 1000
FZ6
FZ6 / FAZER
FZ6 / FAZER 600
FZ6 FAZER S2
FZ6 FAZER S2 600
FZ8 / FAZER
FZ8 / FAZER 800
FZS / FAZER 1000
MAJESTY 125
MAJESTY 250
MAJESTY 400
MT 125
MT 25
MT-01
MT-01 1670
MT-03
MT-03 660
MT-07
MT-07 700
MT-07 TRACER
MT-07 TRACER 700
MT-09 / SP
MT-09 / SP 900
MT-09 TRACER
MT-09 TRACER 900
MT-09 TRACER GT
MT-09 TRACER GT 900
MT-10 / SP
MT-10 / SP 1000
MT-125
MT-25
MT-25 250
NIKEN / GT
NIKEN / GT 900
N-MAX 125
N-MAX 125-155
N-MAX 155
R1
R125
R25
R3
R6
RX 115
SKYLİNER
SRV 850
TDM 850
TDM 900
T-MAX
T-MAX 500
T-MAX 530
T-MAX 560
TR
TRICITY 155
V MAX 1200
VİREGO535
WR 125
WR 125 R / X
WR 250
WR F 250
WR F 450
WR R / X 125
WR R / X 250
X
X CİTY
X-CITY 250
XENTER 150
XJ 6
XJ6
XJ6 / DIVERSION 600 F
XJ6 / DIVERSION F
XJ6 / DIVERSION F 600
XJR 1200
XJR 1300
X-MAX (ABS YOK) 250
X-MAX / IRON MAX 125
XMAX 250
X-MAX 250
X-MAX 250 (ABS YOK)
XMAX 300
X-MAX 300
XMAX 400
X-MAX 400
XSR 125
XSR 700
XSR 900
XSR700
XT 600 E
XT 660
XT 660 R
XT 660 X
XT R 660
XT TENERE 700
XT X 660
XT Z 1200 SUPER TENERE
XT Z 660 TENERE
XT Z SUPER TENERE 1200
XT Z TENERE 660
XV VIRAGO 1100
XV VIRAGO 250
XVS 650 DRAG STAR
XVS A MIDNIGHT STAR 950
XVS DRAG STAR 1100
XVS DRAG STAR 250
XVS MIDNIGHT STAR 1300
XVS650
YBR 125
YBR 250
YZ 125
YZF 125
YZF R THUNDERACE 1000
YZF R THUNDERCAT 600
YZF R1
YZF R1 1000
YZF R1 M
YZF R1 M 1000
YZF R125
YZF R25
YZF R25 250
YZF R6
YZF R6 600
YZF R7
YZF R7 700
Honda Yedek Parça
SYM Yedek Parça
Yamaha Yedek Parça
MARKA SEÇİMİ İÇİN TIKLAYIN
SYM PARÇA KATALOGLARI
Yeni Ürünler
Yeniden Stoğa Giren Ürünler
Sepet Boş
Ana Kategori Seçiniz
Seçiniz
Alt Kategori Seçiniz
Seçiniz
Diğer Kategori Seçiniz
Seçiniz
Marka Seçiniz
Seçiniz
Model Seçiniz
Seçiniz
Stok Kodu Giriniz
Barkod Giriniz
Filtrele
Temizle
Ana Sayfa
SYM YEDEK PARÇA
MMBCU 160
E07-KRANK
Filtrele
Sıralama Seçiniz
Fiyata Göre Artan
Fiyata Göre Azalan
Ada Göre Artan
Ada Göre Azalan
En Yeniler
Bu Kategoride
2
Ürün Bulundu
KATEGORİLER
AKSESUAR
E01-ÜST SUBAP KAPAGI
E02-EGSOZ SUBAP - EMME SUBAP
E03-SİLİNDİR KAPAĞI
E04-SUPOMPASI
E05-SİLİNDİR
E06-KAM MİLİ
E07-KRANK
E08-KARBURATOR-MANİFOLDU
E09-SOL KRANK KUTUSU
E10-SAĞ KRANK KUTUSU
E11-SOL KRANK KUTUSU KAPAĞI
E12-RADYATOR-STATÖR
E13-YAĞ POMPASI
E14-ÖN VARYOTÖR
E15-ARKA VARYATÖR
E16-ŞANJIMAN
E17-HAVA FİLTRESİ
E18-EGSOZ
F01-GİDON
F02-KM SAATİ- AYNA
F03-FREN SİSTEMİ
F04-ÖN ÇAMURLUK-ÖN AMARTİSÖR-ÖN MAS
F05-ÖN İÇ ÇAMURLUK
F06-ÖN TEKER
F07-ÖN FAR-ÖN GRENAJ
F08-TORPİDO
F09-ALT PANEL
F10-YAKIT DEPOSU
F11-RADYOTÖR YEDEK SU DEPOSU
F12-SELE ALTI-ARKA STOP-MARPİYEL
F13-ARKA ÇAMURLUK
F14-SELE
F15-ŞASE
F16-ORTA SEHPA-YAN SEHBA
F17-ARKA TEKER-ARKA AMARTİSÖR
F19-ELEKTRONİK PARÇALAR
GRENAJ AKSAM
MARKALAR
SYM
[[TITLE]]
[[VALUE]]
STOK DURUMU
Sadece Stoktakiler
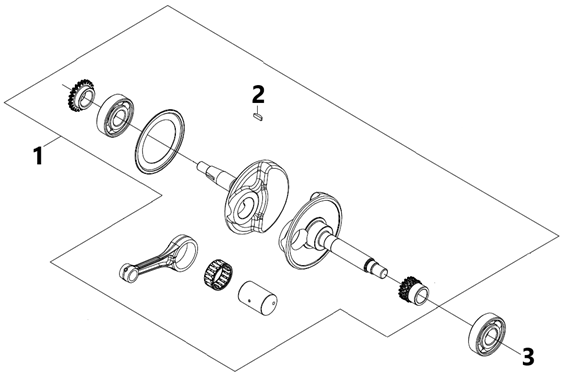
NO
STOK KODU
AÇIKLAMA
ADET
1
13000-D21-000
KRANK
1
2
90702-M9Q-000
KAMA KRANK KAMASI 25*14*4
1
3
91001-HJA-000
RULMAN 6207 6207JR2C3_(91001-F6A-300)_SOL(L.)
1
Sıralama Seçiniz
Fiyata Göre Artan
Fiyata Göre Azalan
Ada Göre Artan
Ada Göre Azalan
En Yeniler
E07-KRANK
Ücretsiz Kargo
SYM MMBCU 160 KRANK TEK RULMAN DAHIL 13000-D21-000
SYM
Barkodu : 8690000108466
Size Özel Fiyat
12.020,64 TL
-
+
ADET
Sepete Ekle
TÜKENDİ
SYM KAMA KRANK KAMASI 25*14*4 ADET(PKT5) 90702-M9Q-000
SYM
Barkodu : 8690000104093
Size Özel Fiyat
25,43 TL
Sepete Ekle
Telefonla Sipariş
×
Ad
Soyad
Telefon
Sizi hangi saatte arayalım ?
Ürün Adı / Stok Kodu
E-Mail
Mesajınız
Sipariş Takibi
×
E-Posta Adresi
Sipariş Numarası
Sorgula
Lütfen Bekleyiniz
Lütfen sorgulamak istediginiz siparişe ait kayıtlı mail adresinizi ve sipariş numaranızı giriniz.
Ad Soyad
E-Posta Adresi
Sipariş Tarihi
Ödeme Şekli
Sipariş Durumu
Kargo Tarihi
Teslim Tarihi
Genel Toplam
İnternet sitemizde çerezlerden faydalanılmaktadır. Ayrıntılı bilgi için
Kişisel Verilerin Korunması Kanununu,
Gizlilik Sözleşmesi
ve
Çerez Politikamızı
inceleyebilirsiniz.
Reddet
Kabul Et