
| NO | STOK KODU | AÇIKLAMA | ADET |
|---|---|---|---|
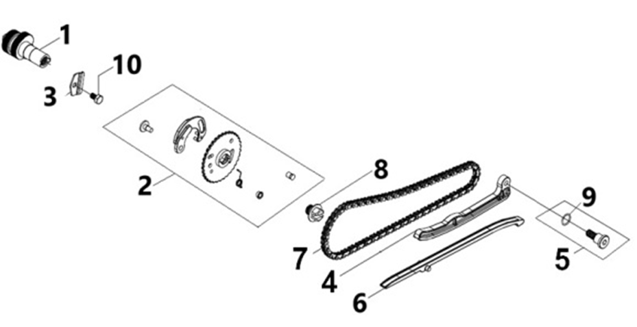
| 1 | 14100-D21-000 | EKSANTRIK KAM MILI | 1 |
| 2 | 14120-D21-005 | EKSANTRIK DISLISI_(14120-D21-000) | 1 |
| 3 | 14457-D21-000 | BRAKETI EKSANTRIK KAM MILI SABITLEYICI | 1 |
| 4 | 14510-FFA-002 | EKSANTRIK ZINCIR UST GERGI BROWN_(14510-FFA-000) | 1 |
| 5 | 1453A-M92-000 | CIVATA ZINCIR UST GERGI CIVATASI | 1 |
| 6 | 14610-F8A-000 | EKSANTRIK ZINCIR KILAVUZU ALT GERGI | 1 |
| 7 | 1C14401-M92-000-M2 | EKSANTRIK ZINCIRI_(14401-M92-000-A1) | 1 |
| 8 | 90002-D21-000 | CIVATA EKSANTRIK KAM MILI CIVATASI | 1 |
| 9 | 91304-M9Q-000 | ORINGPUL 15 2*1 5 EKSANTRIK O-RING PUL_(91301-GR0-003) | 1 |
| 10 | 92101-06010-0H | CIVATA M6*10 EKSANTRIK KAM MILI CIVATASI_(92000-06010-0H) | 1 |
70,84 TL
791,54 TL
317,43 TL



